本文主要內容為介紹LNG接收站、天然氣液化工廠用低溫閥門的實際應用概況。針對LNG領域苛刻工況用J-T閥的選型要點展開論述,總結提出低溫閥門工程設計的注意事項,并提出國產閥門推廣應用的下一步工作建議。
LNG作為一種高效的、可儲存的清潔能源,在產業鏈的各個環節上都具有廣闊的發展前景。國內天然氣液化工廠主要以小型為主,湖北黃岡處理規模已達到120萬噸/年的液化能力。國內其他LNG接收站儲備規模也在不斷擴大,截至目前中國海油已投產6座LNG接收站,LNG年接收能力超過2400萬噸/年。

在LNG產業的快速發展過程中,與其配套的低溫閥門需求量與日俱增。由于LNG具有易燃易爆超低溫的顯著特點,且LNG工廠通常地處海邊鹽霧環境,因此對低溫閥門的選型設計提出更高的要求。目前國內大部分站場的LNG用深冷閥門仍需進口,有些苛刻工況用低溫閥門仍被國外所壟斷,如J-T閥、大型LNG儲罐的呼吸閥、大口徑高磅級閥門等。盡管國內材質設計已滿足低溫要求,但某些零部件的承壓和密封性能仍需改進優化。
LNG用低溫閥門型式
小型天然氣液化工廠中,低溫閥門主要集中在液化單元和LNG儲存單元,壓力等級不高,內徑較小,其中較為苛刻工況為混合制冷循環工藝還用低溫混合制冷劑節流閥和LNG節流閥這種多級降壓調節閥。據粗略統計,一般液化工廠用低溫閥門數量約占整個工廠閥門總量的30%。在LNG接收站中(主要指接收能力200萬噸/年以上的大型站場),低溫閥門數量在2000個左右,其中小尺寸閥門數量約700個,低溫閥門占全部閥門的90%以上,部分閥門壓力等級較高,口徑較大。
LNG領域涉及的低溫及超低溫工況閥門主要包括單座直通閥(包括角閥)、球閥、蝶閥、截止閥、止回閥和安全閥。





球閥 偏心蝶閥 蝶閥 閘閥 止回閥
LNG接收站低溫閥門使用情況統計:
用途 | 名稱 | 尺寸 | 壓力等級范圍 | 操作 方式 |
調節閥 | 單座直通閥 | DN25 ~DN150 | CL150~CL900 | 自動 |
蝶閥 | DN250~DN800 | CL150 | 自動 | |
截斷閥 | 蝶閥 | DN15 DN1050 | CL150/CL800/CL1500 | 手動 |
球閥 | DN15~DN650 | CL150/CL800/CL1500 | 手動 | |
截止閥 | DN15~DN150 | CL150/CL800/CL1500 | 手動 | |
止回閥 | DN15~DN600 | CL150/CL800/CL1500 | ||
呼吸閥 | 安全閥 | DN25~DN300 | CL150/CL900 | |
真空閥 | DN300 | CL150 | ||
熱釋放閥 | 入口DN25出口DN50 | CL150 |
LNG苛刻工況用閥門的選型要點:
以LNG苛刻工況用閥門舉例

J-T閥是LNG液化工廠中運行工況最為惡劣的調節閥之一。目前采用較多的液化工藝流程是混合制冷劑循環,分別采用制冷劑J-T閥和LNG J-T閥對混和制冷劑和天然氣進行節流降壓。混合制冷循環所用的2個J-T閥,都在-150℃以下的超低溫環境,在閥門正常開啟的條件下,J-T閥兩端承受的壓力通常在30~80bar之間。由于J-T閥處于高壓差和超低溫環境,易產生氣蝕,閥芯、閥座和閥體的表面容易損壞。若閥芯受損無法關嚴,閥門在全關位置會出現泄漏、結霜現象,且工藝上對J-T閥的性能要求較高。為達到制冷效果,使用過程中需保證閥兩端壓差和出口溫度穩定,同時裝置變負荷時需對J-T閥進行調節。因此,在J-T閥選型中,除了要遵守低溫閥門設計的一般規則外,還須考慮在高壓差工況對閥內件選型設計的特殊要求。

J-T閥選型的特殊要求
J-T閥就是焦耳-湯姆遜節流膨脹閥,利用焦耳-湯姆遜節流膨脹原理設計的節流閥門。節流膨脹(Throttling Expansion)也叫焦耳湯姆遜膨脹,即較高壓力下的流體(氣或液)經多孔塞(或節流閥)向較低壓力方向絕熱膨脹過程。調節閥在管道中起可變阻力作用,它改變工藝流體的紊流度或者在層流情況下提供一個壓力降,壓力降是由改變閥門阻力或“摩擦”所引起的,這一壓力降低過程通常稱為“節流”。對于氣體,它接近于等溫絕熱狀態,偏差取決于氣體的非理想程度。在液體的情況下,壓力則為紊流或粘滯摩擦所消耗,這兩種情況都把壓力轉化為熱能,導致溫度略為升高。J-T閥門多用來實現降溫,常用于天然氣處理和液化工藝中。J-T閥門前后壓差較大,介質溫度超低,容易產生汽蝕,容易損壞。因此,多采用多級降壓控制閥。
1、閥內件結構性能對比及其選型
一般冷劑用J-T閥和LNG J-T閥的壓差比都在0.9以上,需采用多級降壓手段。目前,閥內件設計的基本思想是曲折通道、多級減壓、擴大流動區域和多孔設計等。這種結構的閥內件可以使高速流體在通過閥芯、閥座時每一點的壓力都高于在該溫度下的飽和蒸汽壓,主要有兩種結構形式:多孔套筒式調節閥和迷宮式調節閥。
國外知名供應商產品(如德國沃德WODE低溫閥門)的共性都是利用多級套筒實現逐級降壓,區別在于對迷宮式和多孔式套筒結構的選用上,其中德國沃德WODE、CCI、MASONEILAN、Copes Vulcan、SevernGlocon等主要生產迷宮閥,Fisher和Flowsever(Valtek)主要生產多孔套筒閥。迷宮控制閥對流速的控制強于多孔套筒閥,在選擇套筒閥級數時,若多孔套筒閥流速不滿足要求,應選用迷宮閥。如采用迷宮閥芯,J-T閥壽命至少在兩年以上,壽命是套筒閥5~10倍。套筒鉆孔閥適用于小尺寸的多級減壓工況,大尺寸選迷宮閥;迷宮閥量程范圍較寬,但迷宮閥與多孔套筒閥相比價格更高。
2、出口流速的控制要求
高壓差產生氣蝕,介質的高流速也直接影響閥體和閥內件的使用壽命,需通過多通道設計的方法進行分級減壓,使調節閥內流體壓力、速度曲線平穩過渡。因此,選擇閥內件流道結構時,應著重控制介質流速,盡量使高速流體撞擊,造成動能的消耗,進而減小氣蝕、振動對閥門的磨損。應滿足ISA標準給出的介質流出閥內件的速度和動壓能的要求。
3、防堵塞設計
在液化工廠中,造成堵塞的原因主要有介質中存在水蒸氣和CO2導致冰堵,管線吹掃不干凈殘留焊渣、銅屑等雜質造成臟堵。因此,需考慮多級減壓套筒設計的防堵功能,盡量選擇光滑平穩的流路,必要時應縮小閥座直徑,以提高節流速度來提高“自潔”性能,還可配置足夠剛度和推力(力矩)的執行機構。

LNG低溫閥門選型關鍵技術
1、通用性低溫技術要求
LNG領域涉及的低溫或超低溫閥門應滿足如下基本要求:
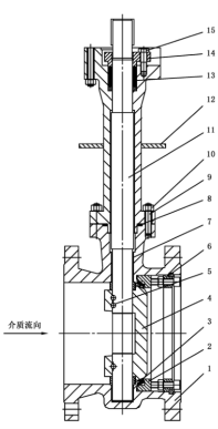
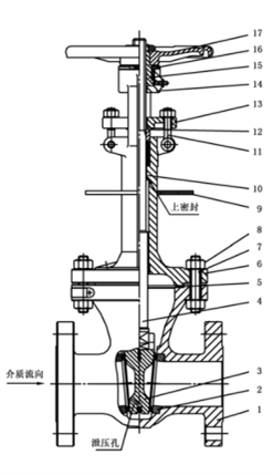
①低溫閥門須要加長閥蓋,閥蓋應為整體式螺栓連接結構;
②應裝備加長閥桿,保證填料處于環境溫度,所有閥桿都是防吹出結構;
③閥內件應易于拆卸,尤其是閥座可在線維護并易于更換,內件和密封能夠快速從閥頂部拆卸,可在線維修;
④具有軟密封結構的閥門應采用防火設計;
⑤所有球閥都應裝有泄壓裝置;
⑥具有外密封結構的球閥、截止閥等應具有外密封性能;
⑦閥體、內件、閥蓋、閥桿、執行機構等須設計成防靜電結構。
2、低溫閥門選型注意事項
【1】承壓零部件的材質選擇
材料質量是衡量閥門強度可靠性和使用壽命的一個重要指標。目前LNG用低溫閥門推薦選用奧氏體不銹鋼材料,閥體常用牌號有A351 Gr.CF3M、A182 Gr.F316L、A182 Gr.F304L;閥芯常用牌號有A351 Gr.CF8M、A182 Gr.F316、A182 Gr.F304。
【2】密封形式及其材質的選擇
LNG用低溫閥門通常采用硬密封結構。閥芯(或閥板)材質不低于316不銹鋼,在高壓差或易發生氣蝕或閃蒸的場合考慮采用硬質不銹鋼或斯泰萊合金,在閥芯(或閥板)和閥座上堆焊STL合金。LNG用低溫球閥閥座密封推薦采用金屬密封嵌入式軟密封,軟密封材質可采用聚三氟氯乙烯(PTFCE)。閥桿填料一般推薦采用“唇式密封石墨”的結構。
【3】閥桿延長長度的合理確定
對于LNG超低溫介質,閥蓋的延長量是關鍵的設計指標。現場LNG項目閥門外漏80%原因都源自廠家為了節約成本沒有配置足夠的延長閥蓋。BS6364以及殼牌(Shell)的MESC SPE77/200都對此長度有不同的要求。殼牌的延長度要求嚴格,但僅靠提高延長量要求來保證填料不結冰缺少現場依據,建議以BS6364中對非冷箱閥門的要求為基礎,綜合考慮材質選擇、當地環境露點值以及各廠家項目經驗等多種因素,通過熱分析和實際的試驗結論選擇延長量。
【4】閥門配管附件的設計考慮
為防止破壞閥門的軟密封結構,堆焊球閥兩端應配置焊接短管,帶短管的球閥要求可以在線焊接。對于DN大于等于80mm的閥門,管道短管長度不小于150mm,建議短管材質與管道材質保持一致。此外,所有閥蓋加長的閥門應有滴盤進行保冷,保證填料箱處于環境溫度。滴盤需要跟閥蓋滿焊,材質與閥體保持一致。
【5】低溫閥門的核心試驗項目

應對低溫閥門材料進行檢驗,尤其對于國內產品,材料標準通常情況下要求較低,應做好相關試驗檢測項目,主要包括承壓部件及焊接連接處的射線探傷測試、液體滲透等無損探傷試驗。零部件在加工過程中必須進行低溫深冷處理,使材料相變充分。在結構設計和材料檢驗滿足要求的前提下,閥門的殼體液壓測試、低壓氣密性試驗、上密封泄漏測試(上密封結構)及低溫泄漏測試是必須完成的測試項目。針對產品可以批量生產之前需進行低溫沖擊試驗、常溫性能試驗、低溫性能試驗、無損檢測、低溫壽命試驗等五大類試驗。
國產及進口低溫閥門應用建議
目前國內LNG行業都不同程度地應用了國產化低溫閥門,除了廣泛應用進口低溫閥門的品牌:KSB、德國沃德WODE、英國BESTOBELL等。中石油和中石化都成立了國產化工作小組,與能源局指定的蘇州紐威、大連大高以及中核蘇閥等廠家開展聯合研制工作;中海油也在2“低溫球閥中采用了國產球閥。下一步建議從以下方面做好低溫閥門國產化工作的跟進和推廣工作:
1)國產化實施工作應對照一套完整且嚴格的閥門設計與應用考核程序。從技術要求開始,提出覆蓋產品設計、設計計算、原材料采購、原材料檢驗與無損探傷后合格、機加工及檢驗合格、熱處理及檢驗合格、再次機加工及檢驗合格、清洗及檢驗合格、裝配、檢驗與試驗合格、相關人士鑒定、現場試驗等一整套國產化實施程序,并配備每個步驟的評估標準。
2)應充分考慮初次應用產品的國產化風險。對于3“以上球閥,大口徑蝶閥、止回閥、截止閥等國產化產品,鑒于已有業績較少,在初次應用時建議應用場合盡量集中,避免產品過于分散,一旦發生泄漏將易于監測和發現。因此,建議優先選擇小型液化工廠、微型移動液化裝置的液化單元進行應用推廣。
3)應建立用戶實地調研及產品后評估機制。目前國內LNG行業以小尺寸國產低溫球閥應用業績多,應通過項目大修期間的檢修率考核大量應用閥門的使用情況,尤其針對批量采購而非試驗性質的應用場合進行實地調研。針對新研制的少量應用的閥門,可設置一個考核期(8個月左右),用戶記錄產品的使用性能,并與國際一流廠家的產品的使用情況對比。
結束語:
本文立足于LNG行業的長遠發展前景,針對LNG產業鏈中兩個關鍵環節,天然氣液化工廠及LNG接收站,闡述了常用低溫閥門的使用情況。針對結構設計稍復雜、國產化難度較大的多級降壓閥,詳細探討了工藝要求及多級降壓結構的選型要點。總結了已建站場在低溫閥門設計及試驗方面的關鍵注意事項。提出國產閥門推廣應用的下一步工作建議:結合實際應用情況做好國產化考核流程、風險舒緩、應用性能收集等工作,持續提升我國LNG行業的核心配套設備制造水平。